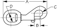
SWIVEL EYE BOLT SNAP - STAINLESS STEEL (SEA-DOG LINE) 3-9/16" 5/16" 5/16" 3/4" Card 10

Listing image Listing image
Specifications

Category Name Hardware-snaps & Hooks Stock Number 354-1465901 Sale Type New
Manufacturer Sea-Dog Line UPC 35514146067 Hazard 9
LNSuse1 62315 LNSuse2 25356 LNSuse3 21793
ModuleID PF_51299 DMPPartNo 02-5193 KMSPartNo SDG 1465901
AS400Description STAINLESS SWIVEL EYE BOAT SNAP VendorItemNumber 146590-1 WebLongDescription

Swivel eye bolt snaps are designed for use with rope, chain, wire or cable. Constructed of corrosion resistant investment cast 316 stainless steel they can be used for tie-downs, lifting wires or in other rigging applications. 360° swivel strap eye eliminates tangling. Spring-loaded bolts provide secure closure with the advantage of an easy-open thumb lever.

WebShortDescription

Sea-Dog 1465901 Swivel Eye Bolt Snap - Stainless Steel

Price  
Description
Swivel eye bolt snaps are designed for use with rope, chain, wire or cable. Constructed of corrosion resistant investment cast 316 stainless steel they can be used for tie-downs, lifting wires or in other rigging applications. 360° swivel strap eye eliminates tangling. Spring-loaded bolts provide secure closure with the advantage of an easy-open thumb lever.